נראה שהניקיונות לפסח הגיעו גם לחברת אפל: ענקית הטכנולוגיה מפתחת בימים אלו מקלדת למחשב שיוכל לנקות את עצמו ולמנוע את אחד התופעות השנואות על משתמשי המחשבים בעולם: הצטברות של אבק ופירורים במקלדת.
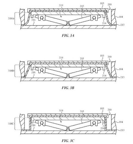
החברה הגישה למשרד הפטנטים האמריקאי בקשה לרישום פטנט חדש עבור המקלדת, וחשפה שרטוטים ראשוניים לעיצוב המתוכנן. על פי הרישומים, המקלדת החדשה תכלול מברשות וכיסויים קטנים כדי לחסום את המרווחים סביב המקשים השונים ולמנוע מאבק או פירורים להצטבר במרווחים או ליפול מתחתם.
בנוסף, המקלדת תוסיף לעיצוב הכפתורים המוכר כפתור ניקיון ייעודי. לחיצה על הכפתור תשחרר חומר ניקיון מיוחד, שידאג לנקות את המקלדת ויוציא את הפירורים שכן הצליחו לעבור את מערכת ההגנה.

"בדרך כלל מקלדות כוללות מספר רב של מקשים זזים" הסבירו אפל בהצעת הפטנט. "במידה ואבק או פירור נתקע מתחת לאחד המקשים, זה יכול להוביל לחסימה של המעגלים החשמליים ולמנוע מהמקשים השונים לעבוד". עוד נטען כי באפל יוכלו בעתיד להרחיב את הפטנט כדי להפוך את המקלדת- והמחשב כולו- לחסין מפני מים.
על פי ההערכות, באפל צפויים בשלב הראשון לשלב את המקלדת החדשה במחשבים הניידים העתידיים שלהם, ובהמשך גם לפתח גרסה עצמאית שתעבוד עם מחשבי השולחן של החברה.

עם זאת, חשוב לזכור כי בשלב הזה מדובר בפטנט ראשוני, שעדיין צריך לקבל אישור ממשרד הרישום לפני שאפשר להתחיל בתהליך הייצור. חלק מהפטנטים מיושמים רק לאחר תקופת זמן ארוכה- כך שגם אם אפל תשיג את כל האישורים, אין הבטחה מתי המקלדת תגיע לחנויות. באפל צפויים להשיק את דגמי המקבוק החדשים בכנס המפחתים של החברה, שייערך בחודש יוני. ככל הנראה, לא מדובר במספיק זמן כדי לסיים את הפיתוח המלא של המקלדת, וסביר להניח שנצטרך לחכות לפחות עוד שנה במקרה הטוב.
באפל גם נוהגים לרשום בכל שנה פטנטים רבים, ולא כל הפטנטים שלה נהפכים למוצרים אמיתיים. בשנה האחרונה אפל רשמה פטנט לשילוב סורק טביעת אצבע בתוך מסך מגע, שנועד לשימוש באייפון X– אך בסופו של דבר בחרו שלא לכלול אותו במכשיר הדגל היקר. בשלב הזה נשאר לקוות שאפל תבחר להשיק את המקלדת, ולספק לכולנו דבר אחד פחות שנצטרך לנקות לפני פסח.
מה דעתך בנושא?
0 תגובות
0 דיונים